加载中...
萃取槽或混合澄清槽是传统的湿法冶金萃取设备,至少有五十年的应用

萃取槽或混合澄清槽是传统的湿法冶金萃取设备,至少有五十年的应用

图片尺寸 640x313
上传时间 2026-03-22 06:29:33

图片链接

缩略图
原图
外链

相关图片

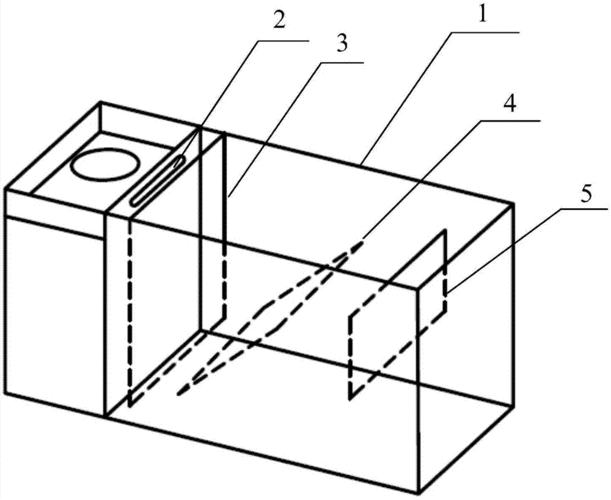
提出了一种稀土镨钕用萃取装置及方法,包括萃取槽本体和搅拌机构,萃取

提出了一种稀土镨钕用萃取装置及方法,包括萃取槽本体和搅拌机构,萃取

实验用萃取槽

实验用萃取槽

萃取槽-爱企查

萃取槽-爱企查

一种低温萃取罐

一种低温萃取罐

萃取槽反酸过大的危害有哪些_操作_的设备_酸性

萃取槽反酸过大的危害有哪些_操作_的设备_酸性

萃取槽

萃取槽

萃取槽的内部结构

萃取槽的内部结构

一种萃取槽的制作方法

一种萃取槽的制作方法

本实用新型公开了一种防止飞溅的萃取槽结构,包括萃取槽,萃取槽内部

本实用新型公开了一种防止飞溅的萃取槽结构,包括萃取槽,萃取槽内部

一种萃取槽

一种萃取槽

随机推荐

一招教你搞定手写签名.1,打开【一键log - 抖音

一招教你搞定手写签名.1,打开【一键log - 抖音

珍惜

珍惜

伤感句子第一次恋爱最后一次流泪doc38页

伤感句子第一次恋爱最后一次流泪doc38页

横屏二次元

横屏二次元

1920_1080

1920_1080

简短笑话大全 简短笑话大全 小学生

简短笑话大全 简短笑话大全 小学生

卡通起司猫图片电脑屏保壁纸

卡通起司猫图片电脑屏保壁纸

仙女壁纸,可爱小仙女壁纸(仙女壁纸,可以做你的壁纸吗图片)

仙女壁纸,可爱小仙女壁纸(仙女壁纸,可以做你的壁纸吗图片)

黑翼蝴蝶和红色花 壁纸 - 1600x900

黑翼蝴蝶和红色花 壁纸 - 1600x900

艺术舞动人生~摄影师用相机记录下舞动的瞬间将艺术永远封存

艺术舞动人生~摄影师用相机记录下舞动的瞬间将艺术永远封存