加载中...
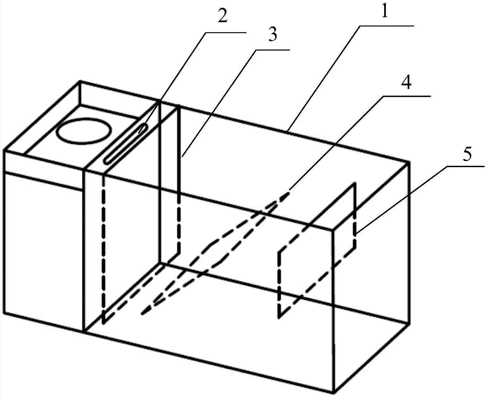
一种萃取槽的制作方法

一种萃取槽的制作方法

图片尺寸 1000x819
上传时间 2026-03-22 06:29:33

图片链接

缩略图
原图
外链

相关图片

萃取槽如何进行两相分离?原理及结构讲解,非专业人士也能看懂

萃取槽如何进行两相分离?原理及结构讲解,非专业人士也能看懂

实验用萃取槽

实验用萃取槽

萃取槽-爱企查

萃取槽-爱企查

萃取槽

萃取槽

厂家直销实验室透明聚氯乙烯材质萃取槽6l混合澄清槽支持定 制

厂家直销实验室透明聚氯乙烯材质萃取槽6l混合澄清槽支持定 制

本实用新型公开了一种防止飞溅的萃取槽结构,包括萃取槽,萃取槽内部

本实用新型公开了一种防止飞溅的萃取槽结构,包括萃取槽,萃取槽内部

萃取槽反酸过大的危害有哪些_操作_的设备_酸性

萃取槽反酸过大的危害有哪些_操作_的设备_酸性

一种改进型萃取槽-爱企查

一种改进型萃取槽-爱企查

萃取槽的内部结构

萃取槽的内部结构

一种新型的锌提取用萃取槽的制作方法

一种新型的锌提取用萃取槽的制作方法

随机推荐

最佳的世界地图画法也许会令你大吃一惊

最佳的世界地图画法也许会令你大吃一惊

赵琳

赵琳

二次元 动漫 插画 情侣 各类cp 高清壁纸

二次元 动漫 插画 情侣 各类cp 高清壁纸

又被黎姿的气质迷倒了,穿抹胸连衣裙扎高马尾,傲人身材真迷人|露肩

又被黎姿的气质迷倒了,穿抹胸连衣裙扎高马尾,傲人身材真迷人|露肩

美丽中国 地图 儿童画 手抄报 小学生 手绘地图,普及国家版图知识

美丽中国 地图 儿童画 手抄报 小学生 手绘地图,普及国家版图知识

口袋觉醒怎样转化橙色进化钥石?

口袋觉醒怎样转化橙色进化钥石?

【首次搭载手动变速箱,帕加尼 huayra 超级跑车新推 epitome 特别版】

【首次搭载手动变速箱,帕加尼 huayra 超级跑车新推 epitome 特别版】

影楼男宝宝拍照衣服男孩摄影新生儿满月百天照写真照相造型连体衣

影楼男宝宝拍照衣服男孩摄影新生儿满月百天照写真照相造型连体衣

教你识简谱

教你识简谱

吴亦凡

吴亦凡