首页 / 填料函结构 / 图片详情
加载中...
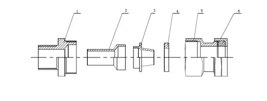
防爆填料函安装方法-金属铠装电缆填料函组成部分-隔

防爆填料函安装方法-金属铠装电缆填料函组成部分-隔

图片尺寸 865x327
上传时间 2026-03-10 12:16:07

图片链接

缩略图
原图
外链

相关图片

球阀用自补偿式低逸散填料函结构的制作方法

球阀用自补偿式低逸散填料函结构的制作方法

防爆填料函 铠装|btl防爆填料函

防爆填料函 铠装|btl防爆填料函

cn111188762a_水刺无纺布专用泵装拆方便的填料函结构在审

cn111188762a_水刺无纺布专用泵装拆方便的填料函结构在审

往复压缩机填料函结构及原理课件ppt

往复压缩机填料函结构及原理课件ppt

2d型循环氢气空压机填料函结构图

2d型循环氢气空压机填料函结构图

离心泵填料函漏水过多处理方法

离心泵填料函漏水过多处理方法

往复压缩机填料函结构及原理课件讲解

往复压缩机填料函结构及原理课件讲解

cn106224549b_填料函密封结构及包括该结构的卧式填料函热交换器和

cn106224549b_填料函密封结构及包括该结构的卧式填料函热交换器和

阀门填料函的结构及介绍

阀门填料函的结构及介绍

往复式压缩机填料函

往复式压缩机填料函

随机推荐

张韶涵最新超高清美图

张韶涵最新超高清美图

中午好片大全,中午好问候,中午好祝福|快乐|悠然|幸福_网易订阅

中午好片大全,中午好问候,中午好祝福|快乐|悠然|幸福_网易订阅

王雅洁的照片和详细资料

王雅洁的照片和详细资料

真人头像男生正脸真实,真人头像男正脸超清

真人头像男生正脸真实,真人头像男正脸超清

地球与月亮和太阳

地球与月亮和太阳

半扎丸子头发型

半扎丸子头发型

山杏是谁演的,山杏扮演者,趟过男人河的女人山杏_电视猫

山杏是谁演的,山杏扮演者,趟过男人河的女人山杏_电视猫

ins - 堆糖,美图壁纸兴趣社区

ins - 堆糖,美图壁纸兴趣社区

刘诗诗时尚干练壁纸合集

刘诗诗时尚干练壁纸合集

毛晓彤身材一直保持的都不错,喜欢毛晓彤的宝宝,快来一起健身运动吧!

毛晓彤身材一直保持的都不错,喜欢毛晓彤的宝宝,快来一起健身运动吧!