加载中...
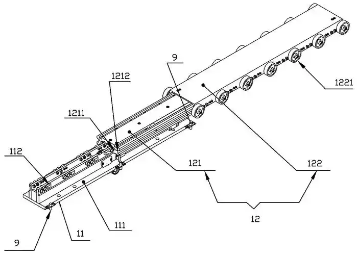
一种带有同步轴的伸缩货叉

一种带有同步轴的伸缩货叉

图片尺寸 1903x1165
上传时间 2026-03-13 14:22:48

图片链接

缩略图
原图
外链

相关图片

一种高效双剪叉机构

一种高效双剪叉机构

一种伸缩叉机构及穿梭车的制作方法

一种伸缩叉机构及穿梭车的制作方法

主臂系统—伸缩系统 五节主臂:双油缸加两组伸缩钢丝绳组

主臂系统—伸缩系统 五节主臂:双油缸加两组伸缩钢丝绳组

一种防压脚安全性剪叉式升降机的制作方法

一种防压脚安全性剪叉式升降机的制作方法

伸缩货叉及堆垛机

伸缩货叉及堆垛机

rgv双向伸缩式货叉及rgv小车

rgv双向伸缩式货叉及rgv小车

防撞伸缩货叉

防撞伸缩货叉

一种三级伸缩货叉

一种三级伸缩货叉

新型长距离双向伸缩托举叉货物流系统的制作方法

新型长距离双向伸缩托举叉货物流系统的制作方法

一种智能存储系统的柔性伸缩货叉

一种智能存储系统的柔性伸缩货叉

随机推荐

初中物理 #初中科学#板书设计#摩擦力静摩擦力分析步骤: - 抖音

初中物理 #初中科学#板书设计#摩擦力静摩擦力分析步骤: - 抖音

霸气退团48岁宁静一直很豪横曾剃光头进男厕怒扇猥琐男导演

霸气退团48岁宁静一直很豪横曾剃光头进男厕怒扇猥琐男导演

花鸟山水国画风景画背景墙装饰画

花鸟山水国画风景画背景墙装饰画

种子圣女果苗四季阳台盆栽蔬菜幼苗孑果苗 红矮生番茄苗6棵【图片

种子圣女果苗四季阳台盆栽蔬菜幼苗孑果苗 红矮生番茄苗6棵【图片

今日更新"94"部影片 类型:剧情 爱情 战争 同性        地区:其他

今日更新"94"部影片 类型:剧情 爱情 战争 同性 地区:其他

中国一条隧道内"白云绿荫",创下四项世界第一,常年武警把守

中国一条隧道内"白云绿荫",创下四项世界第一,常年武警把守

2022最火爆的喜嫁风婚纱照拍的就是新潮

2022最火爆的喜嫁风婚纱照拍的就是新潮

人老心不老,便是最青春.

人老心不老,便是最青春.

有没有类似这样的上下两个世界的壁纸请分享

有没有类似这样的上下两个世界的壁纸请分享

绝美人物插画|头像壁纸 忧郁绝美女主,这样的女主你们爱了吗

绝美人物插画|头像壁纸 忧郁绝美女主,这样的女主你们爱了吗