加载中...
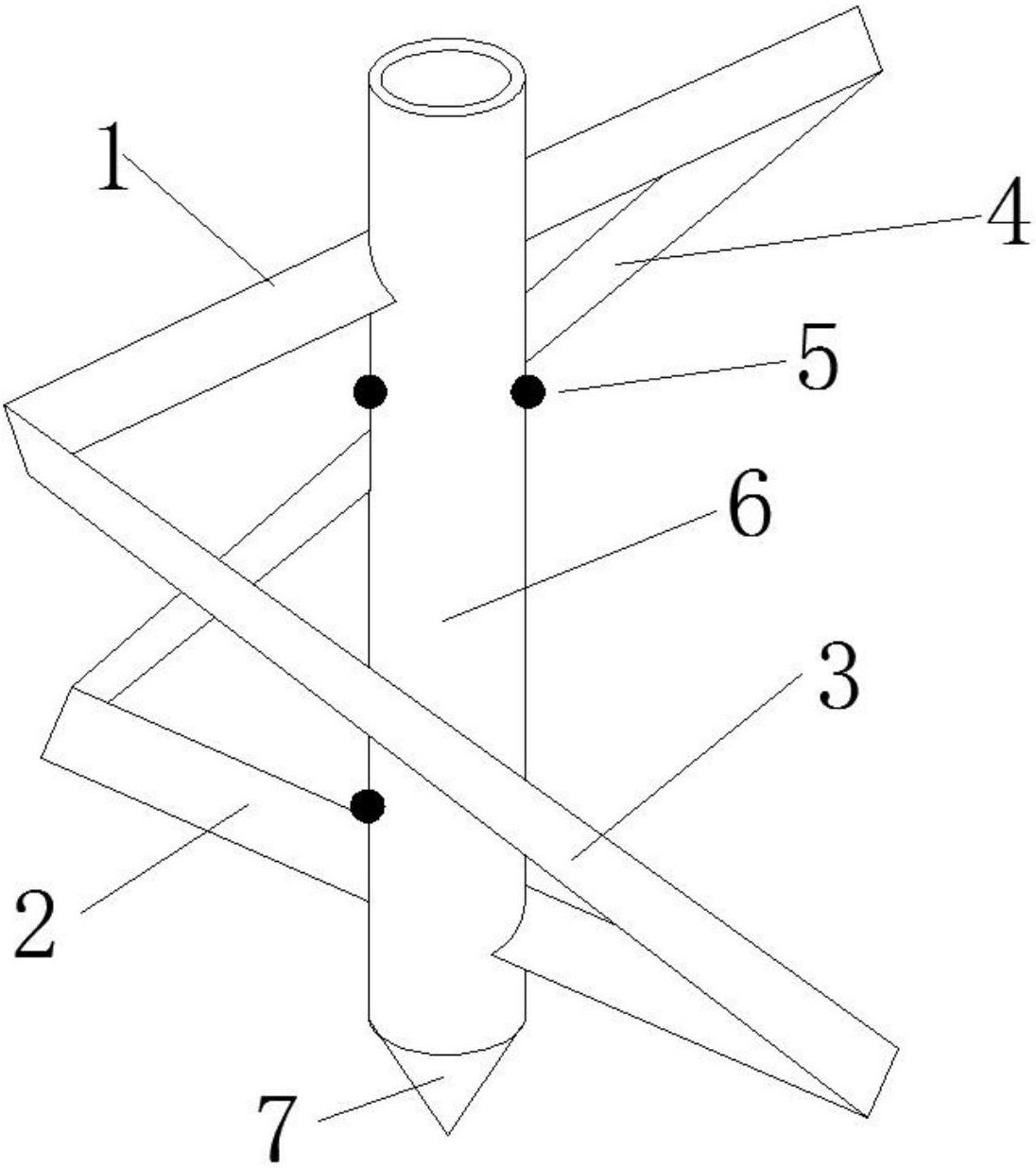
水泥搅拌桩机钻头专利_专利申请于2017-11-03_专利查询 - 天眼查

水泥搅拌桩机钻头专利_专利申请于2017-11-03_专利查询 - 天眼查

图片尺寸 1096x1236
上传时间 2026-03-12 16:55:04

图片链接

缩略图
原图
外链

相关图片

双向搅拌粉喷桩机钻头专利_专利申请于2008-03-13_专利查询 - 天眼查

双向搅拌粉喷桩机钻头专利_专利申请于2008-03-13_专利查询 - 天眼查

一种搅拌叶双向旋转的水泥搅拌桩钻头

一种搅拌叶双向旋转的水泥搅拌桩钻头

(6)根据地质条件和桩型选用钉型双向搅拌钻头.

(6)根据地质条件和桩型选用钉型双向搅拌钻头.

搅拌桩改进后钻头成品件三,应用效果经过一系列的改革,搅拌桩在孟加拉

搅拌桩改进后钻头成品件三,应用效果经过一系列的改革,搅拌桩在孟加拉

一种由外向内喷浆的双向水泥土搅拌桩钻头的制作方法

一种由外向内喷浆的双向水泥土搅拌桩钻头的制作方法

强制式搅拌钻头适用于钉形与双向搅拌桩施工.

强制式搅拌钻头适用于钉形与双向搅拌桩施工.

一种搅拌叶双向旋转的水泥搅拌桩钻头专利_专利查询 - 天眼查

一种搅拌叶双向旋转的水泥搅拌桩钻头专利_专利查询 - 天眼查

钉形与双向水泥土搅拌桩.doc

钉形与双向水泥土搅拌桩.doc

我司一种钢板桩结合搅拌桩支护的施工方法获国家发明专利授权

我司一种钢板桩结合搅拌桩支护的施工方法获国家发明专利授权

一种双喷双向水泥搅拌桩钻头及其施工方法与流程

一种双喷双向水泥搅拌桩钻头及其施工方法与流程

随机推荐

文字

文字

iu李知恩头像壁纸|pinkpink女孩

iu李知恩头像壁纸|pinkpink女孩

lisa rosé闺蜜头像二传注明桃苑原截白荨

lisa rosé闺蜜头像二传注明桃苑原截白荨

哥舒歌

哥舒歌

月夜歌奏响洛奇英雄传春日时装来啦

月夜歌奏响洛奇英雄传春日时装来啦

圆柱体表面积计算ppt

圆柱体表面积计算ppt

李春波《小芳 李春波完整版》吉他谱_c调_六线谱-吉他粉

李春波《小芳 李春波完整版》吉他谱_c调_六线谱-吉他粉

今日夏至翻空白鸟时时见照水红藻细细香

今日夏至翻空白鸟时时见照水红藻细细香

绘党史瞬间 敬百年岁月-美爆了的惠济区东风路小学专题展_作品展

绘党史瞬间 敬百年岁月-美爆了的惠济区东风路小学专题展_作品展

全新lm2576t-12 12v to-220 ns台产 电源芯片

全新lm2576t-12 12v to-220 ns台产 电源芯片