加载中...
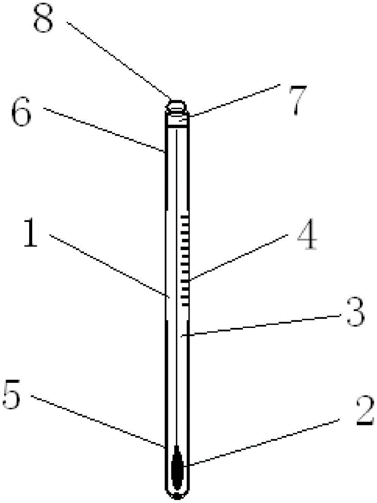
一种医疗用防摔型测量人体温度的水银温度计

一种医疗用防摔型测量人体温度的水银温度计

图片尺寸 750x1000
上传时间 2026-03-21 23:55:38

图片链接

缩略图
原图
外链

相关图片

《保护自己》第二篇 写美篇测量体温方法: 以较传统的水银体温计为例

《保护自己》第二篇 写美篇测量体温方法: 以较传统的水银体温计为例

温度计的结构: 温度计的结构: 温度计的结构 单位 °c 120 110

温度计的结构: 温度计的结构: 温度计的结构 单位 °c 120 110

复习课答案ppt 物质的形态及其变化   复习课 4,体温计的结构和用法有

复习课答案ppt 物质的形态及其变化 复习课 4,体温计的结构和用法有

玻璃液体温度计结构由膨胀室,刻度标尺,毛细管等组成.

玻璃液体温度计结构由膨胀室,刻度标尺,毛细管等组成.

玻璃液体温度计的结构与测量原理

玻璃液体温度计的结构与测量原理

1 《温度和温度计》 课件(13张ppt)

1 《温度和温度计》 课件(13张ppt)

水银体温计,是怎么做出来的?

水银体温计,是怎么做出来的?

拆解90年代以前广泛使用的电接点水银温度计简单而不平凡精华一

拆解90年代以前广泛使用的电接点水银温度计简单而不平凡精华一

在设计体温计时,采用了特殊的弯管结构,使水银柱只能上升不能下降

在设计体温计时,采用了特殊的弯管结构,使水银柱只能上升不能下降

2015青岛版小学科学四年级下册第一单元1温度计的秘密教学ppt

2015青岛版小学科学四年级下册第一单元1温度计的秘密教学ppt

随机推荐

央视主持人张蕾节目收视不占优势叠加年龄问题后续何去何从

央视主持人张蕾节目收视不占优势叠加年龄问题后续何去何从

富兰克林gta 5壁纸

富兰克林gta 5壁纸

海军臂章

海军臂章

齐肩短发

齐肩短发

听说多看大眼睛宝宝也能生出同款可爱宝宝06

听说多看大眼睛宝宝也能生出同款可爱宝宝06

辛巴狗神经语录可爱卡通桌面壁纸图片

辛巴狗神经语录可爱卡通桌面壁纸图片

东炮台海滨风景区

东炮台海滨风景区

你永远是我的唯一成熟的情侣头像稳重双人

你永远是我的唯一成熟的情侣头像稳重双人

飞机场航班

飞机场航班

李颖秀牙签腿!

李颖秀牙签腿!