加载中...
视频:diy自制"无烟 气化炉",几根小 木柴就能烧开一壶水,野营必备

视频:diy自制"无烟 气化炉",几根小 木柴就能烧开一壶水,野营必备

图片尺寸 1318x879
上传时间 2026-03-22 22:58:29

图片链接

缩略图
原图
外链

相关图片

小型农户日常燃用的上吸式生物质燃气气化炉

小型农户日常燃用的上吸式生物质燃气气化炉

自制气化柴炉全过程

自制气化柴炉全过程

与车无关自制野炊用木柴气化炉

与车无关自制野炊用木柴气化炉

煤气罐改气化炉加工各种柴火炉新密市白寨镇华沟加油站往西100 - 抖音

煤气罐改气化炉加工各种柴火炉新密市白寨镇华沟加油站往西100 - 抖音

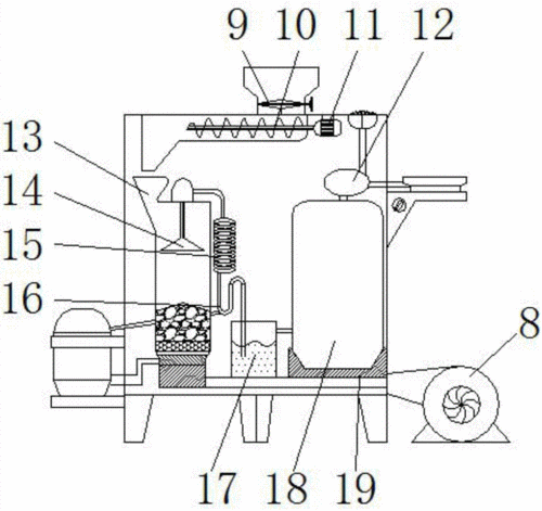
一种无烟环保的柴气炉的制作方法

一种无烟环保的柴气炉的制作方法

柴煤一体无烟气化炉,可以烧各种木柴或者煤,木炭,秸秆,玉米芯 - 抖音

柴煤一体无烟气化炉,可以烧各种木柴或者煤,木炭,秸秆,玉米芯 - 抖音

一种高效秸秆气化炉的制作方法

一种高效秸秆气化炉的制作方法

民用柴煤两用气化炉产品标准

民用柴煤两用气化炉产品标准

一种柴气炉制造技术

一种柴气炉制造技术

秸秆气化炉制作图纸(有邮箱的话,可以发去详细)

秸秆气化炉制作图纸(有邮箱的话,可以发去详细)

随机推荐

为西装而生的朴叙俊

为西装而生的朴叙俊

这10位出生于上海的女明星,谁是你心中的颜值第一

这10位出生于上海的女明星,谁是你心中的颜值第一

动漫头像女网图每张都是精选希望能成为你的宝藏专辑

动漫头像女网图每张都是精选希望能成为你的宝藏专辑

在深夜用钢笔书写的女学生写作随笔的裁剪图像照片

在深夜用钢笔书写的女学生写作随笔的裁剪图像照片

萌猫咪卖萌可爱高清头像超萌

萌猫咪卖萌可爱高清头像超萌

小李子魔咒再应验!女友刚满25就分,网友骂:他都快50了-拜客生活常识网

小李子魔咒再应验!女友刚满25就分,网友骂:他都快50了-拜客生活常识网

图片信息

图片信息

老公们的腹肌合集

老公们的腹肌合集

格式:ai(cs3)颜色:rgb元(cny)举报收藏立即下载关 键 词:蜜獾 平头哥

格式:ai(cs3)颜色:rgb元(cny)举报收藏立即下载关 键 词:蜜獾 平头哥

卡通龙卷风图形

卡通龙卷风图形